ÈÇÓ×ÅÍÈÅ ßÇÛÊΠ- ßÏÎÍÑÊÈÉ
STUDY LANGUAGES - JAPANESE

8. JLPT


Menu JLPT / 1999: JLPT-3 (N4-N3)
Japanese language proficiency test
022 - Task 1
Listening comprehension
Source texts

 
問題Ⅰ
問(1)


聴解スクリプト:
1番  女の人が店員と話しています。どの眼鏡にしますか。 女:どの眼鏡にしようかしら。顔がすっきりして見えるのが 良いんだけど。 男:そうですね。このように角がはっきりしたものだと、顔の丸みが目立ってしまうので。 女:そうなの 。それじゃね。 男:またレンズが小さいものも、顔を大きく見せてしまいがちです。 女:なるほどね。それから縁が細い のは年を取って見えるから、止めたいと思ってるの。 男:では、これですね。 女:そうね。それにするわ。  どの眼鏡 にしましたか。

1.     2.     3.     4.  

問(2)


聴解スクリプト:
2番  男の人が女の人に注意しています。どの花を動かせと言っていますか。 男:おっと、危ない。つまずいちゃうよ。 ちゃんとした所に置いて。机の真ん中とか、落ちにくい所に。 女:あ、御免。  どの花を動かせと言っていますか。

1.     2.     3.     4.  

問(3)


聴解スクリプト:
3番  男の人と女の人が机を運びながら話しています。今日は全部で何人来る予定ですか。 男:一つの机には二人ずつ座 るんだよね。 女:はい。 男:じゃあ、後一つ持ってくればぴったりだね。 女:いいえ、後からまた一人増えたもんで。 男:そうか。  今日は全部で何人来ますか。

1.     2.     3.     4.  

問(4)


聴解スクリプト:
4番  男の人が荷物について話しています。どの置き方なら良いですか。 男:この丸いのは、これは転がりやすいから、 立てて置いてね。 女:はい。 男:それから、この四角いのは、重なってもいいけど。立てないでね。 女:はい、分かり ました。  どの置き方なら良いですか。

1.     2.     3.     4.  

問(5)


聴解スクリプト:
5番  住宅のカタログを見ながら父と息子が話しています。二人の決めたのはどの家ですか。 子:お父さん、どの家が良 いと思う? 父:そうだな。これなんか良いんじゃないか。三階建てなら部屋も沢山作れるし。 子:うーん。出来るだけ上 り下りのない家の方が良くないかなあ。 父:じゃあ、この家か。 子:うーん。 父:でも土地が狭いからな。おっ、この 家なんだ。外に階段があるけど。 子:これは玄関も台所も一階と二階に別々にあるから、二つの家族が独立して住めるんだ よ。 父:それ良いじゃないか。 子:そうだね。  二人の決めたのはどの家ですか。

1.     2.     3.     4.  

問(6)


聴解スクリプト:
6番  アナウンサーがアンケート調査の結果について話しています。その内容にあっているのはどのグラフですか。 女: 厚生省の調査で、結婚をして子供が生まれた時、仕事をどうするかについて、今の女性の考えが明きらかになりました。以前 は仕事を諦めると答えた人の割合が一番多かったのですが、今回は大きく減りました。子育てをする間だけ仕事を辞め、子育 ての後もう一度働きたいと答えた人が一位になりました。そして仕事と育児を同時にやりたいと答えた人も仕事を諦めると答 えた人を追い抜きました。  内容にあっているのはどのグラフですか。

1.     2.     3.     4.  

問(7)


聴解スクリプト:
7番  男の人が女の人に頼んでいます。女の人はどのファイルを渡しますか。 男:悪い。そこのファイル取って。 女: どれですか。 男:ええと、1998年度旅行って書いてある奴の、隣の隣。 女:はい。この薄いのですね。 男:いや。 反対側の。 女:あ、これ。はい。  どのファイルをわたしますか。

1.     2.     3.     4.  

問(8)


聴解スクリプト:
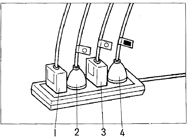
8番  女の人が頼んでいます。男の人はどのコンセントを抜きますか。 男:大丈夫?手伝おうか。 女:じゃあ、お願い 。机の下に入ってコンセントを抜いてくれる? 男:良いよ。よっこらしょっと。で、どのコンセントを抜けば良いんだい。 女:ええと、ね。四角い形のなんだけど。 男:ええと、待ってよ。こっちは丸くなっていて、こっちは四角か。おい、四角 いの二つあるぞ。 女:えっ?ええと。 男:どっちも抜いちゃうか。 女:駄目駄目。あっ、そうだ。コードの所にテープ が付いてるでしょう。 男:ああ、これね。抜くよ。  男の人はどのコンセントを抜きますか。

1.     2.     3.     4.  

問(9)


聴解スクリプト:
9番  男の人と女の人が話しています。何について話していますか。 男:どうやって運ぼうか。 女:籠に入れて電車に 乗せて行けば? 男:嫌がられないかなあ。 女:大きい声で鳴いたりするなら困るけど。これなら。 男:でも頭を出した ら、驚かれるだろうなあ。  何について話していましたか。

1.     2.     3.     4.  

問(10)


聴解スクリプト:
10番  看護婦さんが患者さんに次の診察について話しています。この患者さんは次の診察の時どうしますか。 女:はい 。これが次回の診察の時の予約券です。次回は一階の受付を通らないで、直接こちらの内科に来てください。そして診察が終 わったら、会計を先にすませてお待ちくださいね。薬を出しますので、少し時間がかかりますから、そのつもりで来てくださ い。  患者さんはどうしますか。

1.     2.     3.     4.  

問(11)


聴解スクリプト:
11番  男の人と女の人が車の中で話しています。二人はどの道を通りますか。 女:ちょうど良かったわ、この信号で止 まって。 男:んー?なぜ。 女:ここ左に行って。 男:えっ、まっすぐいけば良いんだろう。 女:ん、でもまっすぐは 信号がおおいじゃない。 男:おれ左の道嫌いなんだ、細くて。じゃ、この次を左に行くか。 女:ううん。ならこの次の右 に曲がってすぐ左に行って。 男:えっ、右に曲がってすぐ左? 女:ええ。あたらしい道で、空いてるのよ。 男:ええ。OK。  二人はどの道を通りますか。

1.     2.     3.     4.  

問(12)


聴解スクリプト:
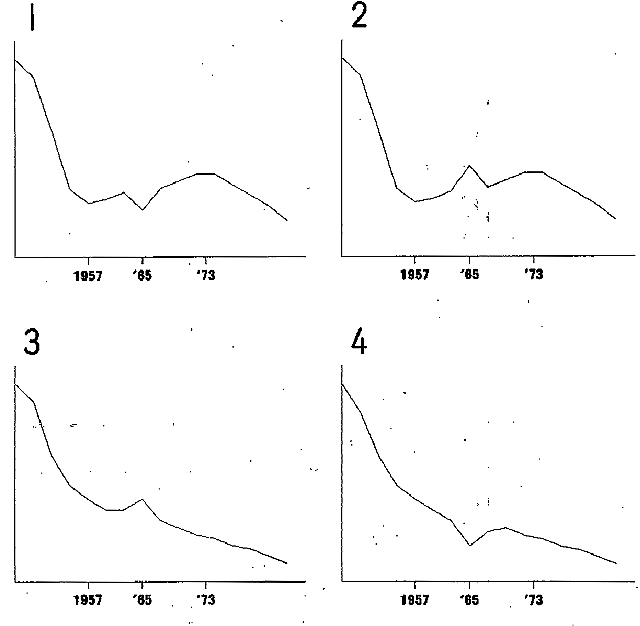
12番  男の人が子供の生まれる割合の変化について説明しています。その内容にあっているのはどのグラフですか。 男 :え、子供の生まれる割合はここ数十年減り傾向にあります。1950年頃から急に下降し、57年から73年にかけてはや や上がりましたが、その後再び下がりました。この変化の中で65年だけは例外的な動きを見せています。この年は病気が流 行ったので、子供を生みたくないと思った人が多かったためです。  内容にあっているのはどのグラフですか。

1.     2.     3.     4.  

問(13)


聴解スクリプト:
13番  店長とアルバイトの学生が話しています。来月は何日間働く予定ですか。 店長:君は木曜担当だったよね。 学 生:はい。 店長:悪いんだけど、来月は21日から旅行に行くんで、3日間店を閉めるんだよ。 学生:はい。 店長:で 、君の場合、定休日の15日とも重なっちゃってるでしょう。申し訳ないんで、もし君さえ良ければ土曜日にも出て来てもら うかと思って。 学生:土曜日全部ですか。 店長:そのうちから、二日来てくれないかなあ。 学生:はい、分かりました 。  来月は何日間働く予定ですか。

1.     2.     3.     4.  

問(14)


聴解スクリプト:
14番  女の人が気候の変化と生物の数の関係について話しています。地球が暖かくなるとこの島の動物と植物の数はどう なると言っていますか。 女:ええ、皆さんご存知のようにこの数十年間地球は温暖化しつつあります。今後さらに暖かくな ると動物や植物にも影響を与えることが考えられます。この島は冬の寒さが厳しいことで知られていますから、もしこのまま 温暖化が進めば動物や植物にとって過ぎやすくなり、その数が増えると一般には思われがちです。しかし私たち生物学者はそ の反対の事態を予想しています。ですからこの島の自然はこのままの姿で変わらずに行って欲しいものだと思います。  地 球の暖かくなるとこの島の動物と植物の数はどうなると言っていますか。

1.     2.     3.     4.  

問(15)


聴解スクリプト:
15番  会社で部長と部下が話しています。部長にいつ会いますか。 部下:部長、お願いしたいことがあるんですが。今 宜しいですか。 部長:あ、悪いけど、今から出かけるんだ。 部下:あの、明日は。 部長:そうだね。明日の午後はいく つか会議が入ってるな。あさって以降の方が良いんだけど。 部下:あさって以降ですか。 部長:急ぐの。 部下:ええ。 先日の報告書なんですが、あさっての昼までに出さなければならないんですが。部長のはんこが要るんです。 部長:そうか 。じゃ、当日じゃ無理だね。それなら会議の後。そうだな。8時に来てよ。そのころには終わっているはずだから。 部下: はい、分かりました。  部長にいつ会いますか。

1.     2.     3.     4.